599
Dit project onthult twee geheimen van de Nieuwe Hollandse Waterlinie.
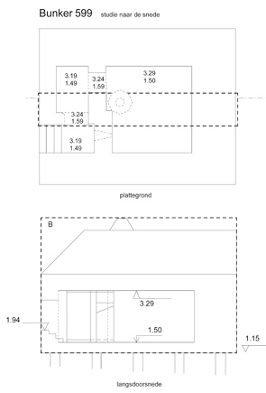
Door één keer het binnenste van de bunker (groepsschuilplaats) te laten zien ontstaat een andere kijk op de
400 nog overgebleven groepsschuilplaatsen.
Doordat de snede van de doorgezaagde bunker overgaat in een steiger en tenslotte in een dubbele rij palen
ontstaat een lijn die de inundatiehoogte (de hoogte van het water als het land onder water gezet zou worden) aangeeft.
Opdrachtgever: Dienst landelijk gebied
Locatie: Diefdijklinie snelweg A2
Status: uitgevoerd
film "Bunker 599" on youtube.com
fotostream Klaas Vermaas "Bunker 599" on flickr.com




